
据外媒报道,马自达始终坚持革新其发动机技术,尽管其竞争对手早已放弃汪克尔旋转式发动机设计(Wankel rotary design),但该公司仍坚持采用该设计理念。据传,马自达可能仍在秘密地研发新款电驱动双增压发动机(Electrically Twincharged Engine)。
马自达将复兴双增压系统
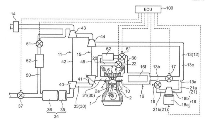
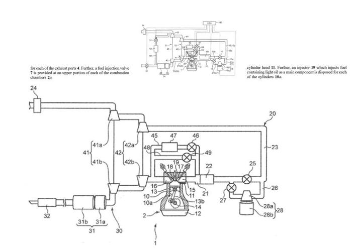
最近,马自达现已证实,公司将研发均质压燃汽油发动机(HCCI gasoline engine),其功能类似于一台柴油发动机,可将油气混合物压缩至爆震点(detonation point)。相较于当前汽油车所采用的火花点燃式发动机(spark-ignition engines),其极限压缩比(extreme compression ratio)的能效高于前者。如今,根据马自达向美国专利与商标局(U.S. Patent and Trademarking office)提交的申请文件显示,该公司目前正致力于复兴一款罕见的增压进气系统(forced induction system)——双增压系统(twincharging)。
如今,双增压系统在很大程度上已被弃用,其旨在消除涡轮系统的迟滞及机械增压器(superchargers)的寄生拉力(parasitic draw),该系统还将采用皮带驱动机械增压器与废气涡轮增压器(exhaust-driven turbocharger)各一台。机械增压器可在任意每分钟转速(RPM)下实现瞬间加速,当涡轮呈加速时,超级增加器将自动与小型离合器解耦,进而消除来自传动系统的旋转质量。部分系统采用机械增压器,迫使涡轮增压器升压,而进气歧管(intake manifold)则仅由涡轮增压器供气。这类系统被用于Group B蓝旗亚Delta S4拉力赛车上,还有部分系统被用于当前款大众TSi 1.4 L发动机中。
自上世纪80年代起,涡轮增压器就经历多次变动,形成了几乎无迟滞现象的双涡流涡轮增压技术(twin-scroll)、可变几何形状(variable geometry)及双涡轮,若欲再增添双增压系统,其技术复杂性将大幅提升,将对大多数制造商造成不便。
马自达则作出了决定,认为该项设计值得保留,而伴随着电驱动机械增压器的出现,电气技术也随之进步。事实上,据该公司的专利申请文件显示,公司正在研发电驱动机械增压器与双涡轮。目前是否有术语能准确地对该产品加以描述呢?没准会将其称之为双涡轮增压(dual-twincharged)或三增压(Tricharged)呢?

马自达i-ELOOP制动能量回收系统
据《Road & Track》杂志预测,马自达i-ELOOP制动能量回收系统(regenerative braking system)在车辆减速停车的过程中将车的机械能转换成电能,并在充电的过程中使用了电容器,可先把高发电功率产生的电能以25V的电压以及较大的电流快速充入电容,然后从电容经过变压及交流-直流转换模块,缓慢释放充入蓄电池,再由电池驱动新款发动机的电驱动增压器。近来,i-ELOOP技术引起了业内的关注。据马自达提交的另一份专利图纸显示,该设计同时适用于汽柴油发动机。
马自达的专利图纸给我们留下了许多疑问,如:上述图纸是否意味着马自达将为汪克尔旋转式发动机双增压亦或是为即将上市的SKYACTIV-X均质压燃汽油发动机提供测试平台?是否意味着将出现一款高性能车辆?亦或是提供缩水版产品,用于提升车辆的燃油经济性?
据坊间谣传,马自达将于今年末宣布推出RX-9车型,纪念马自达重启该款沉寂多年的旋转式发动机(rotary engine)。目前大量间接证据均表明,新款马自达RX系列车型的上市不会让人们等得太久,谜题恐怕只有等到今年10月的东京汽车展上才能揭晓。
京公网安备11010202008536号